юра с 7 Опубликовано 16 августа, 2015 симптомы следующие:то не работает указатель топлива и спидометр то температура и тахометр. то все гуд но температура врет градусов на 40 примерно. то вообще все хорошо и замечательно работает. приезжал по гарантии - 2 раза чего то химичили - не помогает. панель не меняют - говорят рабочая. проблема в панеле или где в другом месте? Поделиться сообщением Ссылка на сообщение Поделиться на другие сайты
barbos 80 Опубликовано 16 августа, 2015 юра с, сними щиток приборов, минус приходит один, а вот (+) при включении зажигания два, оба в колодке разъёма ХР3. Проверь надёжность контактов, что-бы плотно гнёзда одевались на штекера. Поделиться сообщением Ссылка на сообщение Поделиться на другие сайты
юра с 7 Опубликовано 16 августа, 2015 смотрели и я и сервисмены-официалы - все гуд Поделиться сообщением Ссылка на сообщение Поделиться на другие сайты
колобок 7 166 Опубликовано 16 августа, 2015 панель не меняют - говорят рабочая. надо настоять на замене Поделиться сообщением Ссылка на сообщение Поделиться на другие сайты
volgist 1 060 Опубликовано 16 августа, 2015 юра с, сними щиток приборов, минус приходит один, а вот (+) при включении зажигания два, оба в колодке разъёма ХР3. Проверь надёжность контактов, что-бы плотно гнёзда одевались на штекера.Плюсов приходит три. Один на ХР3 от зажигания, он раздваивается в эту же колодку на спидометр, и на ХР2 №1, там постоянное питание панели, без него она одометр забывает да и вообще не включается. Массы вроде тоже две. В них и дело скорее всего, надо их проверять. У меня панель тоже глючит, датчик топлива привирает иногда в плюс процентов на 15, а иногда в резерв сваливается. Медленно но верно иду к мысли что эту панель проще на тойотовскую заменить. Не видно пиктограмм, подсветка какая-то дикая, точность приборов и надёжность ахтунговая. Шлак этот Автоприбор. Поделиться сообщением Ссылка на сообщение Поделиться на другие сайты
dmn 52 Опубликовано 17 августа, 2015 А я вот а такой подумываю https://www.youtube.com/watch?v=94BRov4wTM4 За готовый кит хотят 700$, что явно не бюджет. Поэтому думаю, как собрать "из г**на и палок" Поделиться сообщением Ссылка на сообщение Поделиться на другие сайты
TAD 387 Опубликовано 17 августа, 2015 хотят 700$ За такие деньги можно 10 щитков купить от япошек. Поделиться сообщением Ссылка на сообщение Поделиться на другие сайты
Crady 8 646 Опубликовано 17 августа, 2015 Поэтому думаю, как собрать "из г**на и палок"http://avtopriborka.ru/categorija/kombinacii-priborov-gaz/s-bortovym-kompyuterom/universal-s-bortovym-kompyuterom/ Поделиться сообщением Ссылка на сообщение Поделиться на другие сайты
юра с 7 Опубликовано 17 августа, 2015 поменяли по гарантии сегодня - настоял все же. теперь авто девственно чистое согласно панели. Поделиться сообщением Ссылка на сообщение Поделиться на другие сайты
Crady 8 646 Опубликовано 17 августа, 2015 поменяли по гарантии сегодня - настоял все же. теперь авто девственно чистое согласно панели. реальный,отличный даже от родной панели,пробег у тебя в эбу лежит Поделиться сообщением Ссылка на сообщение Поделиться на другие сайты
volgist 1 060 Опубликовано 17 августа, 2015 А я вот а такой подумываю https://www.youtube.com/watch?v=94BRov4wTM4 За готовый кит хотят 700$, что явно не бюджет. Поэтому думаю, как собрать "из г**на и палок"тут не говно и палки надо, а ява-программиста. Планшет, согласующий блок и прогать, прогать, прогать. Поделиться сообщением Ссылка на сообщение Поделиться на другие сайты
колобок 7 166 Опубликовано 17 августа, 2015 поменяли по гарантии сегодня - настоял все же. теперь авто девственно чистое согласно панели. ну и.. всё работает? Поделиться сообщением Ссылка на сообщение Поделиться на другие сайты
Джейзел 278 Опубликовано 17 августа, 2015 Crady, а вот эти приборки по ссылке, там что-то надо дохимичивать? У меня 2006го года приборка. Поделиться сообщением Ссылка на сообщение Поделиться на другие сайты
dmn 52 Опубликовано 17 августа, 2015 http://avtopriborka.ru/categorija/kombinacii-priborov-gaz/s-bortovym-kompyuterom/universal-s-bortovym-kompyuterom/Во первых то, что там обзывается бортовым компьютером ни разу не компьютер, во вторых на приборки с бк ценников нет. Но подумываю у них купить обычную, вроде дешевле, чем у Славы, не говоря уже о наших магазинах Поделиться сообщением Ссылка на сообщение Поделиться на другие сайты
Дмитрий 1 251 Опубликовано 18 августа, 2015 За готовый кит хотят 700$, что явно не бюджет. Поэтому думаю, как собрать "из г**на и палок"Я на столе запускал эту панель, там не чего сложного нет, нужна ардуина которая стоит в принципе в пределах 30$ ну и дружить с паяльником нужно, самое дорогое это экран.Есть видео этой панели на газели старого образца. тут не говно и палки надо, а ява-программиста. Планшет, согласующий блок и прогать, прогать, прогать.Не нужно там не какого ява программиста и согласующего блока, там все предоставляется бесплатно, для самостоятельно сборки, а кнопку загрузить нажать не нужно быть программистом. Поделиться сообщением Ссылка на сообщение Поделиться на другие сайты
volgist 1 060 Опубликовано 18 августа, 2015 Не нужно там не какого ява программиста и согласующего блока, там все предоставляется бесплатно, для самостоятельно сборки, а кнопку загрузить нажать не нужно быть программистом. Человек думает, как собрать из говна и палок, следовательно, он хочет сделать всё самостоятельно, без покупки кита за 700 бачей. Для этого ему надо знать джаву (можно и на других ЯП) и согласующий блок между монитором и датчиками на моторе, а это и есть "Ардуина". Разве что продаваны написали свой шилд под ардуину, который формирует эти эффекты на мониторе, и добили несколько внешних блоков для согласования с датчиками машины Поделиться сообщением Ссылка на сообщение Поделиться на другие сайты
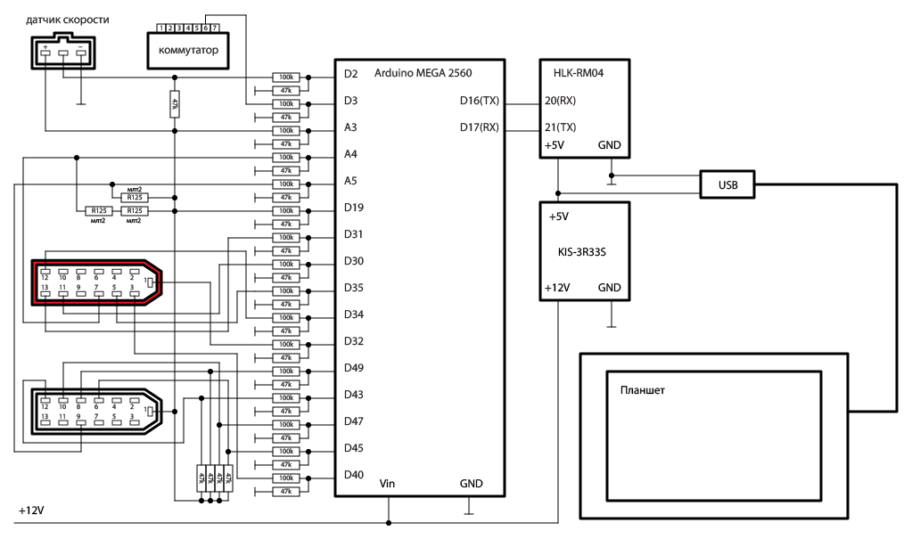
Дмитрий 1 251 Опубликовано 18 августа, 2015 Человек думает, как собрать из говна и палок, следовательно, он хочет сделать всё самостоятельно, без покупки кита за 700 бачей. Для этого ему надо знать джаву (можно и на других ЯП) и согласующий блок между монитором и датчиками на моторе, а это и есть "Ардуина". Разве что продаваны написали свой шилд под ардуину, который формирует эти эффекты на мониторе, и добили несколько внешних блоков для согласования с датчиками машины Зачем говорить то, о чем вы не в курсе в обще? так модно? вы даже представления не имеете как это работает.Шилд не пишется, шилд паяется поинтересуйтесь, что такое шилд для ардуины. Под ардуину пишется скетч и он пишется не на языке ява, и он готовый бесплатно распространяется разработчиками и нужно нажать всего одну кнопку что бы загрузить в ардуину, которая оригинальная стоит в пределах 30$ а китайская 10-15$!На андройд устройство или win на которое устанавливается программа этой панели, которая так же бесплатна с ограничениями по отображению скорости. андройд или win устройство с ардуиной связывается или по usb(бесплатный вариант) или по сетевому модулю или по wifi модулю которые стоят в пределах 10$ далее всякие резисторы блок питания и тд и того выйдет примерно 50$ далле если на андройд устройстве то уже экран есть, но убогий который в панель не вставить, для идеальной работы что бы выглядело как родное, ну как на видео, нужно делать на win или андройд боксе и покупать экран не стандартный под размеры панели он стоит не плохих денег 100-200$Для более понятного простоя схема как это работаетавто->ардуино->андроид или win->экранВот схема подключения таврии к ардуино Как видно там нужны только резисторы для подключения к авто, hlk-rm04 это wifi модуль, kis это блок питания.Разработчики продают просто готовый шилд то есть все спаяно воедино и нужно только подтянуть провода из колодок родной панели ну и монитор видимо то же идет в комплекте, но все этом можно собрать самому, я для теста собирал Поделиться сообщением Ссылка на сообщение Поделиться на другие сайты
volgist 1 060 Опубликовано 19 августа, 2015 Ардуинщики такие ардуинщики.Ты, Дима, программист видимо, с железом дела не имеешь? Хотя бы форум их почитай, потом спорить и выводы делать будешь Поделиться сообщением Ссылка на сообщение Поделиться на другие сайты
Дмитрий 1 251 Опубликовано 19 августа, 2015 Ардуинщики такие ардуинщики. Ты, Дима, программист видимо, с железом дела не имеешь? Хотя бы форум их почитай, потом спорить и выводы делать будешьКак раз последнее время очень часто имею дело именно с этим железом. Ну, а раз ты упомянул форум который сами не читали, то давай уж дадим ссылку на него http://compcar.ru/forum/showthread.php?t=9704 и найдем отличия от моих слов, а так же увидим готовые программы и тд Поделиться сообщением Ссылка на сообщение Поделиться на другие сайты
volgist 1 060 Опубликовано 19 августа, 2015 Так Ардуина это не блок для согласования датчиков мотора и устройства для отображения? Поделиться сообщением Ссылка на сообщение Поделиться на другие сайты
Дмитрий 1 251 Опубликовано 19 августа, 2015 volgist, Это микро контролер который обрабатывает сигналы с датчиков и передает их для обработки программы панели. Для программирования ардуины не нужны не какие знания программиста в этом случае, нужно нажать только одну кнопку, загрузить, так как разработчики бесплатно дают готовую прошивку(скетч) для неё . А в обще это по большей части детский конструктор для создания всяких моделей роботов и автоматизации чем я последний год и занимаюсь.ПС в той теме что дал ссылку есть и мои вопросы с полгода назад наверно ))) это я кто му что бы не подумали, что я тут фантазирую )) Поделиться сообщением Ссылка на сообщение Поделиться на другие сайты
volgist 1 060 Опубликовано 19 августа, 2015 Это микро контролер который обрабатывает сигналы с датчиков и передает их для обработки программы панели.Этот микроконтроллер и есть шилд, который является блоком согласования. Для шилда написана программа, прошивка, если угодно. То, что ардуинщики называют скетчем. А в обще это по большей части детский конструктор для создания всяких моделей роботов и автоматизации чем я последний год и занимаюсь.Ардуино привлекло достаточное количество людей в радиотехнику и микроэлектронику, но погребло под собой настоящие знания. То, что ардуинщики делают "всего лишь за $30, китайское за $15" на самом деле стоит $2, остальное за бренд Ардуино. В общем, в данном случае мы это и видим на твоём примере.Ардуино здесть блок согласования, она переводит аналог в цифру и шлёт дальше, для обработки и отображения. Как ты не изворачивайся, даже в твоей же ссылке есть слова "блок обработки сигналов с датчиков".Ты позапускал на столе чужое, а я разрабатывал и разрабатываю и продаю такое своё. Единственно что я ушёл от дисплея, потому что считаю это неудобным и дорогим. Мой путь это адаптация готовых приборок к неродным моторам и изготовление нестандартных приборов с нуля.Такшта, учите матчасть. Поделиться сообщением Ссылка на сообщение Поделиться на другие сайты
СергейН 117 Опубликовано 19 августа, 2015 Этот микроконтроллер и есть шилд, который является блоком согласования. Для шилда написана программа, прошивка, если угодно.Не совсем правильно, Ардуино это микроконтроллер с обвязкой, а шилд это плата расширения. Там все что подсоединяется к ардуино, называется шилдом.Даже светодиод с гасящим резистором на отдельной плате уже шилд. Поделиться сообщением Ссылка на сообщение Поделиться на другие сайты
volgist 1 060 Опубликовано 19 августа, 2015 Не совсем правильно, Ардуино это микроконтроллер с обвязкой, а шилд это плата расширения. Там все что подсоединяется к ардуино, называется шилдом.Даже светодиод с гасящим резистором на отдельной плате уже шилд.С известным допущением, ардуина с обвязкой и есть шилд к устройству обработки и отображения информации. Устройство расширения для получения данных с датчиков. Поделиться сообщением Ссылка на сообщение Поделиться на другие сайты
dmn 52 Опубликовано 19 августа, 2015 Дмитрий всё правильно говорит. Мысль есть заказать с Китая Ардуину мега с ВиФи и свисток типа МК 809. Матрицу с контроллером взять от монитора/ноутбука/нетбука. Главный затык в этом шилде. Но один дружащий с платами человек сказал, после моего объяснения, что можно обойтись без шилда, одними проводами. Скетч для Ардуино и демка оболочки в свободном доступе. За полноценную оболочку хотят 70$, что на мой вкус тоже многовато.На данный момент морочусь внедрением планшета в машину в качестве БК/навигации/камеры ЗХ, как закончу вернусь к панели. А то тут тоже не всё гладко. Поделиться сообщением Ссылка на сообщение Поделиться на другие сайты