Перейти к содержанию
           
Авторизация  
cxem

Умный Регулятор напряжения

Рекомендуемые сообщения

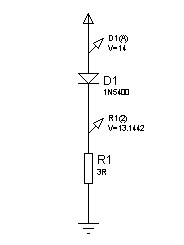
volgist

Пока не включено реле РР будет получать падение на диоде, что и нужно, а реле можно переподключить на обход этого диода вручную например.

 

На кой болт это нужно, на нём упадёт почти вольт. Вот:

post-81747-0-06305200-1404325071_thumb.jpg

 

Питающее 14 вольт, якорь взял три ома. Дельта 0,86V. Недостаток компенсируется цепью замка зажигания.

Короче, гоните, товарищи.

Изменено пользователем volgist

Поделиться сообщением


Ссылка на сообщение
Поделиться на другие сайты

mvclv

Упадет 0.7в, а с цепи зажигания 20мА ток

Поделиться сообщением


Ссылка на сообщение
Поделиться на другие сайты
volgist

Это к чему?

Поделиться сообщением


Ссылка на сообщение
Поделиться на другие сайты
mvclv

Упадет на диоде.

Ток через лампочку панели на обмотку возбуждения.

Изменено пользователем mvclv

Поделиться сообщением


Ссылка на сообщение
Поделиться на другие сайты
volgist

В огороде бузина а в Киеве дядька.

Изложи свою мысль доступнее, что сказать этим желаешь?

Поделиться сообщением


Ссылка на сообщение
Поделиться на другие сайты
mvclv

А что тебе не понятно?

Поделиться сообщением


Ссылка на сообщение
Поделиться на другие сайты
volgist

Хороший вопрос. Ты дал какие-то цифры, ничем не подтверждённые. Зачем их дал-не понятно. Суть высказывания какова? Что ты этими цифрами донести до общества хотел?

Поделиться сообщением


Ссылка на сообщение
Поделиться на другие сайты
mvclv

При наличии мультиметра эти цифры можно измерить самому, можно об этом прочитать.

А как ты себе представляешь доказать это по интернету?

Поделиться сообщением


Ссылка на сообщение
Поделиться на другие сайты

volgist

Ну хорошо, рассчёты можешь не приводить. Делаем вопрос уже:

Что обозначают эти цифры в контексте данной беседы? Зачем ты их привёл?

Если ты их вычитал в статье, которую приводит mill, так напрасно, статья та ошибочна, это можно доказать очень легко. Так что на неё опираться не получится.

Ещё раз:

Зачем привёл цифры, что они доказывают?

Изменено пользователем volgist

Поделиться сообщением


Ссылка на сообщение
Поделиться на другие сайты
mvclv

Какой еще статье, я не читаю всякую чушь, только если проверяю.

Да и доказывать мне неохота, иногда прикольно поспорить.

 

Кстати подскажи раз такой спец: метод проверки добротности Q катушек зажигания стоит 100 баксов за сам прибор?

Изменено пользователем mvclv

Поделиться сообщением


Ссылка на сообщение
Поделиться на другие сайты
cxem

volgist, про Фому(плохую проводку)

mvclv, про Ерёму(плохой РР)

Поделиться сообщением


Ссылка на сообщение
Поделиться на другие сайты
mvclv

cxem, для моего графика работы РН нормальный, возможно кому жить или ночевать в машине слабовато.

Вариантов повысить напряжение достаточно, я предпочитаю халявные варианты при прочих равных.

Поделиться сообщением


Ссылка на сообщение
Поделиться на другие сайты
cxem

Как подключить "РЕНАТО-термо" 683.3702

 

1. Установить регулятор напряжения отверстием основания на болт массы, предварительно очищенный от грязи и ржавчины, и надежно закрепить.
2. Используя соединительный провод, подключить «+» и «Ш» регулятора напряжения к контактам «+» и «Ш» щеточного узла генератора.
3. Закрепить наконечник с термодатчиком на плюсовой клемме АКБ.
ВНИМАНИЕ: При установке не повредите термодатчик!
4. Проложить провод от наконечника термодатчика к регулятору напряжения и соединить колодку гнездовую термодатчика с колодкой штыревой «Д» регулятора напряжения.

post-1085-0-71058900-1406730076_thumb.jpg

post-1085-0-75324500-1406730315_thumb.jpg

 

Поделиться сообщением


Ссылка на сообщение
Поделиться на другие сайты
cxem

Исправил схему подключения

post-1085-0-00420400-1406734741_thumb.jpg

 

Поделиться сообщением


Ссылка на сообщение
Поделиться на другие сайты
cxem

Исправил схему подключения, к щёткам надо припаять диод.

post-1085-0-64684200-1406788923_thumb.jpg

 

Стандартное подключение: перекусить правую и среднею ноги, припаять к щёткам провода.

post-1085-0-44275500-1406788936_thumb.jpg

 

 

Поделиться сообщением


Ссылка на сообщение
Поделиться на другие сайты
vovchelo 041

Исправил схему подключения, к щёткам надо припаять диод.

attachicon.gifРЕНАТО_подключить_1.JPG

 

Стандартное подключение: перекусить правую и среднею ноги, припаять к щёткам провода.

attachicon.gifРЕНАТО_Стандартное подключение.JPG

а диод зачем?

Поделиться сообщением


Ссылка на сообщение
Поделиться на другие сайты
cxem

Обмотка ротора должна быть зашунтирована диодом.

При стандартном подключение ставить диод не надо.

 

Измерил ток потребления  "РЕНАТО-термо" 683.3702, при 12 вольтах 18 мА.

Можно подключать "+" прямо к аккумулятору, по первой схеме.

Изменено пользователем cxem

Поделиться сообщением


Ссылка на сообщение
Поделиться на другие сайты
.олег

привет всем!!!мучался 3 года с недозарядом АКБ поставил вот такую штуку и забыл!!https://www.youtube.com/watch?v=fvVVv8J68ME

  • Нравится 1

Поделиться сообщением


Ссылка на сообщение
Поделиться на другие сайты
Alex030569

привет всем!!!мучался 3 года с недозарядом АКБ поставил вот такую штуку и забыл!!https://www.youtube.com/watch?v=fvVVv8J68ME

Сколько стоит?Цена?

Поделиться сообщением


Ссылка на сообщение
Поделиться на другие сайты
kovaikin

Сколько стоит?Цена?

интересная штука но такая геморойная то переклюбчалка, че за обкурышь все эти параметры вбивал туда, что по нормальному нельзя было зделать

Поделиться сообщением


Ссылка на сообщение
Поделиться на другие сайты
.олег

интересная штука но такая геморойная то переклюбчалка, че за обкурышь все эти параметры вбивал туда, что по нормальному нельзя было зделать

ответил в личке.

Поделиться сообщением


Ссылка на сообщение
Поделиться на другие сайты
.вован.

привет всем!!!мучался 3 года с недозарядом АКБ поставил вот такую штуку и забыл!!https://www.youtube.com/watch?v=fvVVv8J68ME

прикольная штука! где приобрёл?

Поделиться сообщением


Ссылка на сообщение
Поделиться на другие сайты
лодырь

я поискал у себя в городе нет на 406 готовых, привезти тоже не очень горят желанием. Взял у знакомого автоэлектрика старый диодный мост( вроде от зила или камаза) выломал от туда 2 диода( они без маркировки в инете смотрел вроде Д20) , мост еще СССРовский. При проверки диодов цешка показала один 444 второй 777 сопротивление. Споял их последовательно. При помощи двух переключателей трехпозиционных(60руб за один типа тех как на указатель топлива уаз 1-левый контакт 2-выключено 3-правый) собрал схемку. Диоды в обрезок кабель канала запихал в салоне чтоб проверить насколько греются. кабель 2*0,5 кв подключил в гнездо возбуждения реле регулятора на счетках. Схема следующая ~N7Lfc3hN.jpg

кагда выключатель в положении 12 то работает без повышения напряжения, когда 11 то напряжение повышается при 21 через 2 диода, а 22 через 1 диод.

Завтра проверю другой цешкой, но пока через 2 диода напряжение при 1 тыс об, двигатель температура 40, ключеной второй печке на максимум, основная печка на 1 скорости (минимум), включен ближний свет: НАПРУГА на клеммах акуммулятора 15,6в. До этого на холодном 14,5 , а как прогреется до 13,7 падает. Аккумулятор с надписью Са+ только до плотности 1,23 заряжается. Единственное , что мерцание света на малых оборотах и малой нагрузки генератора. Может что попутвл когда собирал провода в схеме. НО вечером ездил с печками и светом, если верить шкале приборов( у меня старого без цифр), то на прогретом напруга ниже 15 не падает при езде.

Поделиться сообщением


Ссылка на сообщение
Поделиться на другие сайты
.олег

прикольная штука! где приобрёл?

ВОТ ССЫЛКА ПОСМОТРИ ТАМ ВСЁ ПОНЯТНО.https://youtu.be/JLE3corH4a0

Поделиться сообщением


Ссылка на сообщение
Поделиться на другие сайты
.олег

я поискал у себя в городе нет на 406 готовых, привезти тоже не очень горят желанием. Взял у знакомого автоэлектрика старый диодный мост( вроде от зила или камаза) выломал от туда 2 диода( они без маркировки в инете смотрел вроде Д20) , мост еще СССРовский. При проверки диодов цешка показала один 444 второй 777 сопротивление. Споял их последовательно. При помощи двух переключателей трехпозиционных(60руб за один типа тех как на указатель топлива уаз 1-левый контакт 2-выключено 3-правый) собрал схемку. Диоды в обрезок кабель канала запихал в салоне чтоб проверить насколько греются. кабель 2*0,5 кв подключил в гнездо возбуждения реле регулятора на счетках. Схема следующая ~N7Lfc3hN.jpg

кагда выключатель в положении 12 то работает без повышения напряжения, когда 11 то напряжение повышается при 21 через 2 диода, а 22 через 1 диод.

Завтра проверю другой цешкой, но пока через 2 диода напряжение при 1 тыс об, двигатель температура 40, ключеной второй печке на максимум, основная печка на 1 скорости (минимум), включен ближний свет: НАПРУГА на клеммах акуммулятора 15,6в. До этого на холодном 14,5 , а как прогреется до 13,7 падает. Аккумулятор с надписью Са+ только до плотности 1,23 заряжается. Единственное , что мерцание света на малых оборотах и малой нагрузки генератора. Может что попутвл когда собирал провода в схеме. НО вечером ездил с печками и светом, если верить шкале приборов( у меня старого без цифр), то на прогретом напруга ниже 15 не падает при езде.

использование диодов в цепи регулятора напруги не актуальна и даже опасна на горячей машинке зарядка будет всё равно меньше чем на холодном двигателе и разбег между прогретым и остывшим двигателем очень большой.вот глянь видео там всё понятно и наглядно показано 

Поделиться сообщением


Ссылка на сообщение
Поделиться на другие сайты

Для публикации сообщений создайте учётную запись или авторизуйтесь

Вы должны быть пользователем, чтобы оставить комментарий

Создать учетную запись

Зарегистрируйте новую учётную запись в нашем сообществе. Это очень просто!

Регистрация нового пользователя

Войти

Уже есть аккаунт? Войти в систему.

Войти
Авторизация  

×
×
  • Создать...