Перейти к содержанию
           
Авторизация  
aleks_2006vs

шестерня ГРМ УМЗ 4216 бизнес и её замена

Рекомендуемые сообщения

alexgop

 

 


но с их помощью
если коленом на оборотах стукнет по уровню масла то поддон дырявым станет мигом. если коленом ударит по волне(всплеску уровня масла), то это не так страшно.  Задумайтесь какого хрена делают на военной технике "сухие" поддоны. давление в системе будет ровно до того момента пока маслоприемник находится не выше уровня масла... как только маслоприемник сравняется с уровнем так сразу начнется масляное голодание из за скачков давления от нуля до нормы..как только уровень масла станет ниже- кирдык мотору. другими словами- есть давление- есть маслянный туман.

Поделиться сообщением


Ссылка на сообщение
Поделиться на другие сайты

Владимир 23

Если ступица будет прослаблена, шкив будет нагружать шпонку, та в свою очередь будет разбивать посадочное место. Если держится за счет торцевого уплотнения, то там скорее всего есть конус.

То есть по вашему основная удерживающая сила именно в натяге? Как тогда это все работает на Ино двигателях? Да и натяг там должен быть тогда не 3 сотки а как минимум горячая посадка как на помпе. Нет там конусов. Завтра могу сфоткать и шкивы и посадочные, вернее упорные места.

Поделиться сообщением


Ссылка на сообщение
Поделиться на другие сайты
Илюха

В общем собрал всё,но со шпонкой немного ммм...обманулся,но ступица садилась с натягом.Но я всё равно не стал рисковать,т.к. шейка кв прослабла, пришлось ступицу прихватить сваркой,других вариантов не вижу.

Болт центральный закрутил на фиксатор.

Теперь главное, чтобы сальник не потёк, хотя по картине отсутствия масла я и сам не знаю что будет.

Масло лью по верхней метке,щуп родной с завода.

Поделиться сообщением


Ссылка на сообщение
Поделиться на другие сайты
ZAN57

 

Дык одно к одному. Объясни почему там сухо. И конечно не от ударов, но с их помощью при наличии нормального давления.

А сухо там потому, что шестерни крутятся по сути в отдельной камере, закрытые от остального картера, там совсем небольшое технологическое окно снизу, так что масляный туман там может образоваться только от разбрызгивания самими шетернями. А они, цуки- шестерни, брызгают на стенки крышки, по которой и стекает масло вниз, на капая на шестерни. Аналогичная ситуация, как с распредвалами на классике в 80е годы. Да и разбрызгтвать то собсно нечего- шестерня даже на КВ масла не касается, откуда там вообще взяться маслу, разве что при резком торможениии, да и то маслоуспокоители не дают особо ринуться маслу вперед. Отсюда вывод- лейку убрали "ч"удаки из жадности, из "оптимизации". Отсюда второй вывод- срочно вернуть на место. Как я раньше не догадался? При ремонте.

На вопрос УАЗ-417 так никто и не ответил- стояла там лейка или нет?

Изменено пользователем ZAN57

Поделиться сообщением


Ссылка на сообщение
Поделиться на другие сайты
rool

 

А сухо там потому, что шестерни крутятся по сути в отдельной камере, закрытые от остального картера, 

Почему у меня там всё в масле? Без всяких леек. И сальник передний не течёт, но следы потения есть, а сзади в масле. Шайбу маслоотражательную на КВ тоже в качестве злой усмешки установили. Вспомни датчик фазы, там кольцо резиновое надо заранее с герметиком сажать.

  • Нравится 1

Поделиться сообщением


Ссылка на сообщение
Поделиться на другие сайты
ZAN57

В масле там думаю только по причине того может быть, что масло выдавливаемое с первой коренной шейки брызжет вперед, в узел шестерни. А так- это же отдельный отсек, там ничего не брызжет.. У меня точно было почти сухо.

Поделиться сообщением


Ссылка на сообщение
Поделиться на другие сайты
Валерий(69)

То есть по вашему основная удерживающая сила именно в натяге? Как тогда это все работает на Ино двигателях? Да и натяг там должен быть тогда не 3 сотки а как минимум горячая посадка как на помпе. Нет там конусов. Завтра могу сфоткать и шкивы и посадочные, вернее упорные места.

У ЗМЗ/УМЗ ступица держится в основном за счет натяга и поджимается болтом, шпонка фиксирует лишь правильное положение при напрессовке. На иномарках не знаю, но по идее должен быть конус (возможно с незаметным глазу углом), если держится только за счет болта.

Поделиться сообщением


Ссылка на сообщение
Поделиться на другие сайты
Валерий(69)

 

 


На иномарках не знаю, но по идее должен быть конус (возможно с незаметным глазу углом), если держится только за счет болта.
Я посмотрел на иномарочные, как они держатся. Во первых там проблемы с шестернями КВ, которые крепятся упираясь задним торцом в КВ, а передний затягивается болтом с усилием 16-17 кг. У нас еще помимо шестерни еще висит тяжеленный шкив.

https://www.miata.net/garage/hsue/crank/loctite_4.htm

http://www.fixkick.com/t-belt/damage/index.html

Поделиться сообщением


Ссылка на сообщение
Поделиться на другие сайты

Илюха

Вот схема.Там зазор есть между ступицей и изгибом маслоотрпжательной шайбы.

post-9545-0-45080400-1552924184_thumb.jpg

Изменено пользователем Илюха

Поделиться сообщением


Ссылка на сообщение
Поделиться на другие сайты
Владимир 23

Вот схема.Там зазор есть между ступицей и изгибом маслоотрпжательной шайбы.

Где зазор? Ступица прижата к шестерни через шайбу маслоотражающую. Откуда там зазор?

Поделиться сообщением


Ссылка на сообщение
Поделиться на другие сайты
Владимир 23

У ЗМЗ/УМЗ ступица держится в основном за счет натяга и поджимается болтом, шпонка фиксирует лишь правильное положение при напрессовке. На иномарках не знаю, но по идее должен быть конус (возможно с незаметным глазу углом), если держится только за счет болта.

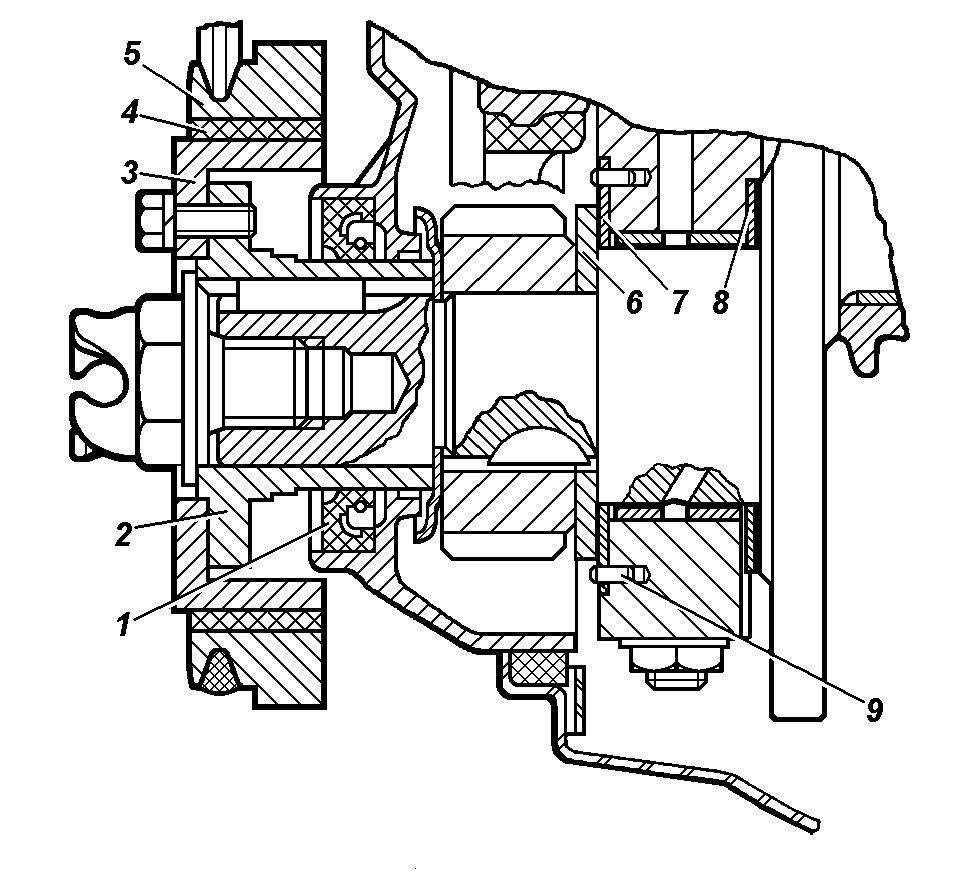
Да не может шкив держаться за счёт такого маленького натяга. Сегодня померил кв на крузаковском моторе. post-9754-0-50572600-1553015538_thumb.jpg

Внизу

post-9754-0-94473700-1553015576_thumb.jpg

Вверху.

post-9754-0-46936900-1553015632_thumb.jpg

Шкив.

post-9754-0-03026100-1553015670_thumb.jpg

Малюсенькая шпонка.

Перед шкивом стоят две шестерни на своей шпонке, все одевается и снимается легко руками. post-9754-0-02761400-1553015786_thumb.jpg

А шкив на тойотовском дизеле, объемом 4.2 чуть массивнее умз.

Вот тойотовская бензинка 1nz post-9754-0-15667600-1553015893_thumb.jpgpost-9754-0-82411400-1553015913_thumb.jpg

Штифт полнотелый чисто для позиционирования и торцевой упор.

Если надо могу ещё ниссановский td27t замерить, но его откапывать надо.

Поделиться сообщением


Ссылка на сообщение
Поделиться на другие сайты
Валерий(69)

 

 


Да не может шкив держаться за счёт такого маленького натяга. Сегодня померил кв на крузаковском моторе.
Тут он держится за счет упора торцевыми частями друг к другу, прижимаются болтом с усилием 16-17 кг.

Поделиться сообщением


Ссылка на сообщение
Поделиться на другие сайты
Crady

 

 


прижимаются болтом с усилием 16-17 кг.
a054469e01.png

 

Крутящий момент:         245 Н * м {2,498 кгс * см, 181 фут * фунт} 
 
мотор 3UZ-FE,4.3 литра,300 кобыл...

Поделиться сообщением


Ссылка на сообщение
Поделиться на другие сайты
Владимир 23

Тут он держится за счет упора торцевыми частями друг к другу, прижимаются болтом с усилием 16-17 кг.

Это на каком моторе. Умз 35-36кг. 1hz 490нм, змз 406 17-22 кг, но там же разные болты бывают, есть такого же размера как на умз а есть гораздо тоньше.

Поделиться сообщением


Ссылка на сообщение
Поделиться на другие сайты
Валерий(69)

Владимир 23, Это может на моторах со шкивом с большим усилием, без шкива с меньшим. 

Я на 402м только прижимал болт на КВ, наверное не более 10 кг.

Изменено пользователем Валерий(69)

Поделиться сообщением


Ссылка на сообщение
Поделиться на другие сайты
Crady

 

 


Это может на моторах со шкивом с большим усилием, без шкива с меньшим.
5011784297.jpg

 

я как то начинаю подозревать что тут усилие несколько побольше будет чем на умз...даже без кондея включенного.как бы так даже генератор "малость" помощней.

(пы сы фотка с просторов)

Поделиться сообщением


Ссылка на сообщение
Поделиться на другие сайты
ZAN57

Всерьез готовлюсь к установке лейки масла на зацепление шестерен РВ. Думал из чего сделать- готовой не нашел. Были идеи- выточить из цельного прутка меди- не нашел с налета, просверлить насквозь болт М6 и вставить тррубку 2-3мм- не нашел трубку. Потом пришла идея сделать из мундштука полуавтомата... резьба есть на М6, отверстие есть... привариваем трубочку на 4мм (такая нашлась, заминием конец трубки, изгибаем куда надо. Пока искал мундштук, нашелся какой то ниппель- штуцер новый  из латуни- резьба есть, дыра есть (внутри дыры насечка под шестигранник, как раз трубка на 4 лезет. запаяли сплавом меди с флюсом... Теперь вопрос куда врезать? есль фото точного места- там каналы выпуклые под 90гр друг к другу...

post-90327-0-99626000-1554724409_thumb.jpg

post-90327-0-21281100-1554724421_thumb.jpg

post-90327-0-33062300-1554724428_thumb.jpg

post-90327-0-09558200-1554724440_thumb.jpg

Поделиться сообщением


Ссылка на сообщение
Поделиться на другие сайты
Владимир 23

Всерьез готовлюсь к установке лейки масла на зацепление шестерен РВ. Думал из чего сделать- готовой не нашел. Были идеи- выточить из цельного прутка меди- не нашел с налета, просверлить насквозь болт М6 и вставить тррубку 2-3мм- не нашел трубку. Потом пришла идея сделать из мундштука полуавтомата... резьба есть на М6, отверстие есть... привариваем трубочку на 4мм (такая нашлась, заминием конец трубки, изгибаем куда надо. Пока искал мундштук, нашелся какой то ниппель- штуцер новый  из латуни- резьба есть, дыра есть (внутри дыры насечка под шестигранник, как раз трубка на 4 лезет. запаяли сплавом меди с флюсом... Теперь вопрос куда врезать? есль фото точного места- там каналы выпуклые под 90гр друг к другу...

Так где нравиться, там и режь. Лишь бы не мешалось ни чему. Если в вертикальный канал врезаться то очень близко будет и трубку надо сразу гнуть на 90°.

Поделиться сообщением


Ссылка на сообщение
Поделиться на другие сайты
ZAN57

У соседа УМЗ 421 со снятой крышкой лежит (кстати там лейки нет), каналы один в один думаю? Толщина стенки канала какая? Конечно фото бы расположения заводской лейки не помешало, или рисунок из мануалки... . Там действительно очень тесно, и штуцер ввернутый в канал получается длинный, т.е трубка начинается после резьбы и сварки уже на вылете напротив середины шестерни... а согнуть в этом месте под 90 не получится- просто сломается. Медь то мягкая, отожглась, но видимо придется делать в форме крючка- петли, чтобы лила вниз и на себя. Может и к лучшему, даже попадающие мимо зацепления брызги будут отражаться от плоскости блока и снова попадать на шестерни, тк там зазор с блоком минимален. Еще вопрос- какое внутреннее сечение заводской трубки на выходе? Я не помню, тк делал УАЗовский мотор более 20 лет назад. Тут ведь вилы- оставишь мало, скажем 0,5- 0,6, на ХХ может почти не брызгать, оставишь много (сейчас 2,2мм внутри трубки), будет давление стравливаться... Попробовать бы к системе подключить на ХХ. заодно посмотреть факел распыления, куда больше будет брызгать если смять плоско...


Да, что интересно, соседский УМЗ 421 оказался внутри с белой шестерней, в идеальном состоянии, водитель божится что не менял, а он на ней проехал 170ткм, что было до него не знает, тк получил фермера БУ из организации, сосед забрал за долги. У него ещё два 417 валяются в сборе, просто снятые с машины при проблемках- меняют не глядя на всякие там ГАИ на подменный фонд, за копейки приобретенный на АВИТО, делают ревизию... иногда ставят без ревизии, если уверены какой брали.

Поделиться сообщением


Ссылка на сообщение
Поделиться на другие сайты
ZAN57

Пожалуйста, пост 1654 от 23.03.19 Владимира 23 и далее по теме. https://www.gazelleclub.ru/forum/topic/39171-shesternia-grm-umz-4216-biznes-i-eyo-zamena/page-83

И мой пост 1697 от 08.04.19 https://www.gazelleclub.ru/forum/topic/39171-shesternia-grm-umz-4216-biznes-i-eyo-zamena/page-85?do=findComment&comment=1681647

Изменено пользователем ZAN57

Поделиться сообщением


Ссылка на сообщение
Поделиться на другие сайты
alexgop

 

 


Всерьез готовлюсь к установке лейки масла на зацепление шестерен РВ.
это из разряда когда руки голове покоя не дают. и только из этого. к разряду улучшения мотора это не имеет никакого отношения. 

Поделиться сообщением


Ссылка на сообщение
Поделиться на другие сайты
ZAN57

А вот интересно, те кто когда то придумал эту лейку и лет 40 ставил её, до наступления эпохи оптимизаций, они были Дебилами? Чья башка им покоя не давала... Тем более, что эти ДВС были точно двойного назначения... И не случайна ли статистика, что шестерни РВ ходили в НЕСКОЛЬКО РАЗ ДОЛьШЕ до наступления славной эры оптимизаций?

Поделиться сообщением


Ссылка на сообщение
Поделиться на другие сайты
Валерий(69)

А вот интересно, те кто когда то придумал эту лейку и лет 40 ставил её, до наступления эпохи оптимизаций, они были Дебилами? Чья башка им покоя не давала... Тем более, что эти ДВС были точно двойного назначения... И не случайна ли статистика, что шестерни РВ ходили в НЕСКОЛЬКО РАЗ ДОЛьШЕ до наступления славной эры оптимизаций?

По большому счету, смазка там не нужна.  пластик  деформируется при нагрузке, т.к он эластичен. Вот если бы шестерня была из текстолита (как на 402), то тогда смазка была бы необходимой.  

Поделиться сообщением


Ссылка на сообщение
Поделиться на другие сайты
ZAN57

Пластик довольно твердый, ничего там не деформируется, это не резина. Тем более, он пластичный а не упругий, если была бы деформация, она была бы остаточной, навсегда, не возвратная, а не продавливалась бы при каждом наезде. Это легко проверить самому, втыкая шило. Практически нет таких материалов, тем более в таком ценовом диапазоне ДВс, которым тут смазка не нужна. Да и вообще, в трущихся парах, тем более косозубое зацепление, где трение - давление со скольжением, "кашу маслом не испортишь" 


Странно как то... Есть болезненные ТЕМЫ, есть явная проблема с ходимостью узла признанная всеми, есть набор вероятностных причин, даже просматривается, откуда исторически ноги растут- как было и как стало... Но оказывается "всё хорошо, ничего не надо..."

Поделиться сообщением


Ссылка на сообщение
Поделиться на другие сайты
Валерий(69)

 

 


Странно как то... Есть болезненные ТЕМЫ, есть явная проблема с ходимостью узла признанная всеми, есть набор вероятностных причин, даже просматривается, откуда исторически ноги растут- как было и как стало... Но оказывается "всё хорошо, ничего не надо..."
Замена шестерни каждые 60 тыс. пробега полагается. Все они выхаживают этот срок, ну за редким исключением бывает раньше ломаются.  

Поделиться сообщением


Ссылка на сообщение
Поделиться на другие сайты

Для публикации сообщений создайте учётную запись или авторизуйтесь

Вы должны быть пользователем, чтобы оставить комментарий

Создать учетную запись

Зарегистрируйте новую учётную запись в нашем сообществе. Это очень просто!

Регистрация нового пользователя

Войти

Уже есть аккаунт? Войти в систему.

Войти
Авторизация  

×
×
  • Создать...